北京时间11月04日消息,中国触摸屏网讯,本周苹果通过了一项新专利,该专利显示苹果正在研发一种支持Force Touch触控技术的Mac键盘。这种键盘未来不仅可以减少用户使用键盘时的键程,同时还可以提高键盘的整体使用效率。
本文来自:http://www.51touch.com/touchscreen/news/dynamic/201511/04-38795.html
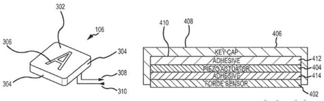
据悉,这项专利由美国专利商标局办法,专利号为No.9178509,专利名称为“超低键程键盘”,这项专利描述了一款集成了类似Force Touch触控技术、同时不使用任何键轴的QWERTY全尺寸键盘。这种专利键盘在去除机械键轴之后,可以将键盘的高度降低数毫米,未来有希望帮助苹果打造尺寸更薄的MacBook产品。
目前,苹果的MacBook和Mac键盘均使用了剪刀键轴,而12英寸新视网膜MacBook使用的则是蝴蝶键轴。而这项专利体现了苹果对于键盘设计的美学,但是有主流的现有技术不同,利用了传感器、致动器和支持电路来代替了原来传统的机械键轴。

而这项专利所描述的键盘原理与之前苹果的Force Touch触控技术类似,只是尺寸大了不少。每个物理按键下都配备压力传感器,压力传感器位于键帽下面,致动器能产生触觉反馈。
最理想的硬件输入条件包括了电阻传感器、应变仪和电容传感器,同时还包括了其它组件均可以检测用户按压按钮的力度,并且将信号发送到计算机的处理器中。同时,传感器可以检测到轻微的距离变化,并且提供一个高定制度的平台获得不同的输入水平。
而另外一个关键的组件是致动器,可以实现压电材料的传输,当底部的压电材料获得机械动力时,可以从应用电场变成机械应变。而利用这些独特的电学特性,满足Force Touch类似的需求。

在输入的过程中,通过对键盘的不同按压力度穿输出特定的信号,包括嵌入式的压力传感器。在确定用户按压的力度后,键盘控制器会接收到信号并进一步处理。随后键盘会通过用户点击的不同力度模拟出不同的机械键盘手感,并且与传动装置配合。
而对于不同按压力度的大小的检测,再加上苹果键盘和配套软件能使一个键对应多种操作。例如,对“A”键施加第一种大小的力,会输入“A”,第二种大小的力会触发一个系统命令或其他功能。这个过程与iPhone 6s上的3D Touch技术类似,允许用户通过不同的力度来实现内容预览、快速启动等功能。
目前尚不清楚苹果是否会推出基于今天所获得专利的Force Touch键盘,不过暂时没有发现苹果在开发相关硬件和软件的证据。考虑到每代MacBook的厚度都会有所减少,而这种不使用物理键轴的设计会大幅降低键盘厚度,因此未来被实际应用的可能性变得很大。
这项专利苹果在2012年9月首次提出申请,专利发明人为Jeffrey T.Bernstein。