未来苹果产品可切换显示屏和触控屏

作者: 51Touch     时间:2010-10-08     源于:weiphone    总点击:
【导读】:有没有想过,未来的苹果产品将具备一块这样的屏幕,用户可以切换屏幕模式为“显示屏”或“触屏”,在传统的电脑显示屏和触控屏间来回转换。或许这不再是个梦想。

    北京时间10月08日消息,中国触摸屏网讯,有没有想过,未来的苹果产品将具备一块这样的屏幕,用户可以切换屏幕模式为“显示屏”或“触屏”,在传统的电脑显示屏和触控屏间来回转换。或许这不再是个梦想。

    本文来自:http://www.51touch.com/touchscreen/news/dynamic/201010/08-7902.html

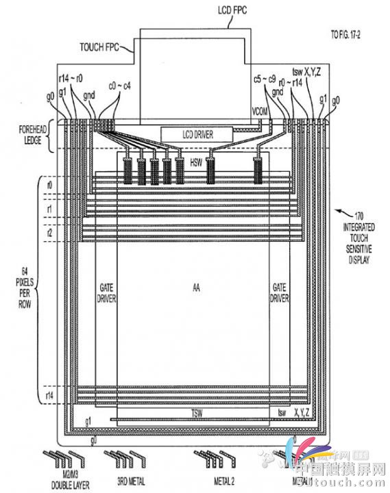
  从美国专利和商标局公布的苹果专利申请文件透露,苹果正在开发一种电路板,可在需要时激活集成的触屏感应器,让屏幕在显示屏和触控屏模式间切换。该文件题为“集成的触摸感应驱动”。

  文件显示,“在触屏模式,电路板将配置切换到与更稳定的电压连接,并且可消除显示屏电路对触摸感应到干扰。”而禁用触控屏时可节省电量,并且能消除触控感应的错误。另外,这种方法还可以降低成本,只需要将这种驱动内置到现有的设备中,无需进行彻底的重新设计。

  更神奇的是,这种驱动还可以切换到其他的屏幕模式,比如“扫描模式”“音频模式”或“文本模式”等。


    触摸屏与OLED网推出微信公共平台,每日一条微信新闻,涵盖触摸屏材料、触摸屏设备、触控面板行业主要资讯,第一时间了解触摸屏行业发展动态。关注办法:微信公众号“i51touch” 或微信中扫描下面二维码关注,或这里查看详细步骤
相关阅读:3D打印    模具产业    微铸锻技术    石墨烯    OLED面板    夏普    iPhone 8    半导体    苹果    
关于我们 | 广告服务 | 联系我们 | 版权声明 | 隐私政策 | 网站地图 | 友情链接 | 欢迎投稿 | 加入收藏 | 意见反馈 | 经销商加入
网站广告、经销商加盟、触摸屏软件销售: 028-85108892 13183843395 028-66219290 联系人: 张小姐 产品购买联系方式如下:
地址:成都市高升桥东路2号高盛中心1109室 电话: 028-85108892 13183843395 028-66219290
版权所有 Copyright(C) 2003-2015 All rights reserved 中国触摸屏网 电子邮件: 51touch@126.com touch8@gmail.com
业务合作QQ:触摸屏技术,触摸屏报价,触摸屏软件咨询 43361182 触摸屏软件制作与技术支持:触摸屏软件,触摸查询系统,触摸查询软件 893008608 媒体合作QQ: 893008608

2000人超级QQ触摸屏群:59897879 171220106


分享到