键盘多点触控改良 苹果新技术申专利

作者: 51Touch     时间:2009-12-30     源于:泡泡网    总点击:
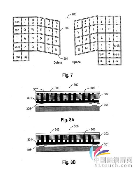
【导读】:今年以来,苹果公司对电脑或者是对手机产品推出的专利设计越来越多,这一次的两项专利设计似乎针对的是产品的操作应用,我们可以清楚地看到键盘造型的特殊设计,它将能够感应压力并做有效回馈,键盘设计上不再是平板模式而是有角度的倾斜,有利于人体力学原理的设计,可

    北京时间12月30日消息,中国触摸屏网讯,由于种种消息的泄露,第四代iPhone在明年夏天大会的登场应该是个必然,虽然四年时间iPhone在外形上变化无多,但是一款手机却奇迹的火了四年并将继续下去,这件事情想想也是有些可怕,虽然还不知道2010年的6月苹果会带给我们一个怎样的iPhone,但是近期苹果公司却一直忙碌于申请专利项目。

    本文来自:http://www.51touch.com/touchscreen/news/dynamic/200912/30-4611.html

 

 

  今年以来,苹果公司对电脑或者是对手机产品推出的专利设计越来越多,这一次的两项专利设计似乎针对的是产品的操作应用,我们可以清楚地看到键盘造型的特殊设计,它将能够感应压力并做有效回馈,键盘设计上不再是平板模式而是有角度的倾斜,有利于人体力学原理的设计,可以让用户使用起来更加的舒适,指部的小小摩擦设计也有助于用户找到键位。

  而另一个专利初看上去就是多点触控设计,但实际上并没有这样的简单,这种最新的多点触控设计并不是只能做简单的拖拽变形等功能,还将可以实现更多应用程序的操作。就是将一切的操作转变到手指上,这种强大手指功能的设计应该是苹果公司的最为重视的功能,也是一直以来强调的设计方向。


    触摸屏与OLED网推出微信公共平台,每日一条微信新闻,涵盖触摸屏材料、触摸屏设备、触控面板行业主要资讯,第一时间了解触摸屏行业发展动态。关注办法:微信公众号“i51touch” 或微信中扫描下面二维码关注,或这里查看详细步骤
相关阅读:3D打印    模具产业    微铸锻技术    石墨烯    OLED面板    夏普    iPhone 8    半导体    苹果    
关于我们 | 广告服务 | 联系我们 | 版权声明 | 隐私政策 | 网站地图 | 友情链接 | 欢迎投稿 | 加入收藏 | 意见反馈 | 经销商加入
网站广告、经销商加盟、触摸屏软件销售: 028-85108892 13183843395 028-66219290 联系人: 张小姐 产品购买联系方式如下:
地址:成都市高升桥东路2号高盛中心1109室 电话: 028-85108892 13183843395 028-66219290
版权所有 Copyright(C) 2003-2015 All rights reserved 中国触摸屏网 电子邮件: 51touch@126.com touch8@gmail.com
业务合作QQ:触摸屏技术,触摸屏报价,触摸屏软件咨询 43361182 触摸屏软件制作与技术支持:触摸屏软件,触摸查询系统,触摸查询软件 893008608 媒体合作QQ: 893008608

2000人超级QQ触摸屏群:59897879 171220106


分享到