北京时间03月31日消息,中国触摸屏网讯,
3月29日, Pantently Apple报道称,最近,苹果公司获得了新一代压力传感器的专利。
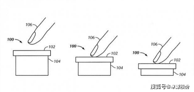
这项专利表明,这种感应器的设计与已经失传多年的3D Touch有些相似,这种技术可以应用于苹果 Watch, MacBook和 iPhone。
这款设备可有不少东西呢!内有这套传感系统的苹果手表有血压监测、脉搏波速度等功能。该专利称该传感器也将用于 MacBook的触摸屏,但其具体功能尚不明确,可能是为了增强用户的互动体验。

事实上,iPhone 11以后的3D Touch被淘汰,而 iPhone上的重按按钮,变成了“长按”“Force Touch”。对于这个改变,不少iPhone用户觉得很可惜!毕竟Force Touch反应有点延迟,没有3D Touch反应迅速!
但还是有不少网友表示,此前3D Touch在某款游戏中能发挥出更大的作用,仅需一根手指便可完成很多操作, 现在,苹果公司的新专利,或许可以让使用者在使用3D Touch时,感受到更好的体验,对于游戏爱好者这类用户来说是个很好的消息!
如今苹果的新专利可能给用户带来更好地压感体验,毕竟之前的3D Touch传感器的厚度和面积都不小,消失已久的3D Touch重出江湖的话,对广大用户尤其是游戏爱好者来说是个好消息。
触摸屏与OLED网推出微信公共平台,每日一条微信新闻,涵盖触摸屏材料、触摸屏设备、触控面板行业主要资讯,第一时间了解触摸屏行业发展动态。关注办法:微信公众号“i51touch” 或微信中扫描下面二维码关注,或这里查看详细步骤




