北京时间08月04日消息,中国触摸屏网讯,
iPhone设计中一个可识别、经常被复制、被抱怨的元素是显示屏顶部刘海。为了让TrueDepth相机阵列发挥作用,这个刘海尺寸在相当长的一段时间内一直是个问题。
虽然苹果一直在考虑如何缩小未来设备的刘海,但它最理想的做法是完全取消刘海。然而,这样做会带来其他问题,主要是让显示屏和相机传感器占据设备的同一空间。在美国专利和商标局周二授予的一项名为 "可调节显示窗口的电子设备 "专利中,苹果认为它可以通过移动显示屏本身来解决这个问题。苹果可以为iPhone创造一个没有任何刘海孔洞的全屏显示器,在拍照时移动显示面板,为摄像头创造一个观察外界的窗口。

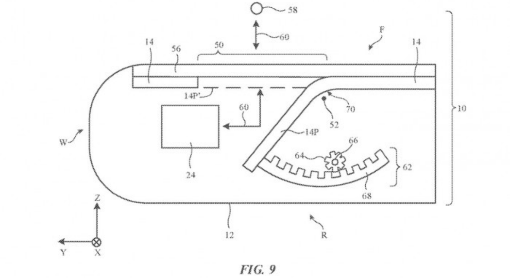
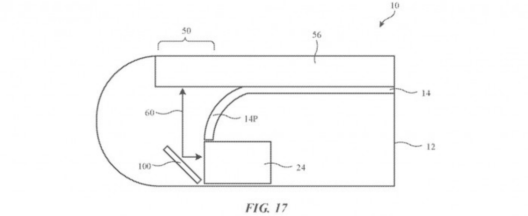
过去曾有过带有滑动显示屏的智能手机设计,但在苹果的案例中,它希望滑动完全发生在设备的外壳内,完全没有外部变化。相反,用户将看到屏幕的一部分从显示屏变为较暗或黑色的部分,同时发生拍照或其他传感器相关的功能。

在苹果这项专利当中,一种机制可以将柔性显示屏的一部分弯曲出来。该专利提到了一个指定的区域作为开放和关闭状态的窗口区域。显示屏的可移动部分根据状态在两个位置之间切换,全部工作在外部玻璃罩下完成。

可移动的显示屏可以有多种形式,但主要包括使用柔性显示屏。根据不同的版本,这种显示器可以弯曲,或者有褶皱,或者有像门一样铰链,或者在一端轻微弯曲的情况下上下滑动。在每一种情况下,摄像头都能直接看到环境和主体,尽管这也可能有所不同。有一种说法是相机可以移动,或者使用反射涂层作为光线的镜子,将其引导到传感器。
触摸屏与OLED网推出微信公共平台,每日一条微信新闻,涵盖触摸屏材料、触摸屏设备、触控面板行业主要资讯,第一时间了解触摸屏行业发展动态。关注办法:微信公众号“i51touch” 或微信中扫描下面二维码关注,或这里查看详细步骤




