北京时间07月07日消息,中国触摸屏网讯,苹果最新可折叠屏专利曝光 或采用双显示屏设计
苹果的折叠屏专利早些时候传得沸沸扬扬,吊足大家的胃口。近日有外媒报道,苹果在今年三月份提交了一份可折叠iPhone专利申请,这个可折叠屏采用了一种十分独特的柔性屏幕设计来解决折叠的问题。不过根据外媒mspoweruser的消息,苹果可折叠iPhone极大概率使用的是像Surface Duo那样的两块玻璃面板,而不是像三星Galaxy Fold那样的一块可折叠面板。
本文来自:http://www.51touch.com/lcd/news/dynamic/2020/0707/57665.html

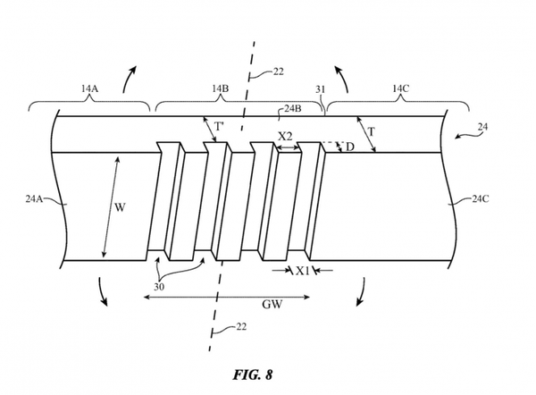
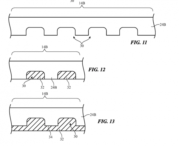
Surface Duo的两块显示屏均为 5.6 英寸,展开后则是8.3寸的屏幕,360度铰链将让用户可以在多种模式下使用设备。而根据专利图显示,苹果在专利文件中建议在玻璃表面的内部切割一系列凹槽,这将使玻璃具有弯曲而不刽被折断的灵活性;此外,被分开的刚性平面层间隙可形成铰链。刚性平面层可以是显示器中的玻璃层或其他透明层,或者可以是电子设备的壳体壁或其他结构部分,与刚性平面层的相对表面齐平的柔性层也可被用于跨越间隙从而形成铰链。

在专利中,苹果还提出在玻璃内部切出一系列凹槽,这将使玻璃拥有高度灵活性,这一过程在木材中称为刻缝,同时这些凹槽被用与玻璃具有相同折射率的弹性体聚合物或流体所填充,而显示屏的其余部分将是正常的。最后,外媒指出,从专利来看,苹果公司通过使用柔软材料在机械上实现可折叠并不太复杂,但这种方法对制造要求更高。
在技术飞快发展的时代里,折叠屏手机或许是一个发展趋势,但却总有种“返璞归真” 的感觉,毕竟十年之前翻盖机也一直是那个时代的潮流设计。
触摸屏与OLED网推出微信公共平台,每日一条微信新闻,涵盖触摸屏材料、触摸屏设备、触控面板行业主要资讯,第一时间了解触摸屏行业发展动态。关注办法:微信公众号“i51touch” 或微信中扫描下面二维码关注,或这里查看详细步骤




